电商MRO供应链日本Koyo光洋 黄铜接头SPG82008
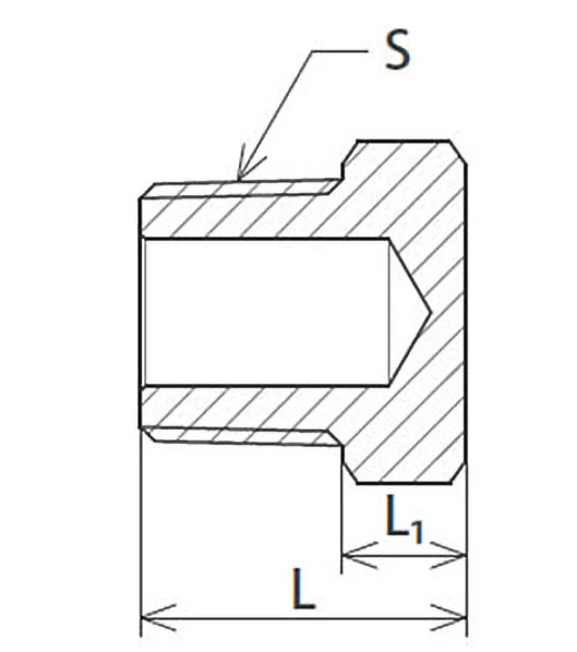
尺寸 L (mm):18
尺寸:L1(毫米):6
材料(配件本体):JIS H3250 C3604、JIS H3250 C3771
形状:插头
工作温度范围 (°C):-20~150(非冷凝)
对面(mm):16
管道连接口径:R1/4
最大工作压力(MPa):21
典型工作压力 (MPa):14
RoHS指令:(10种物质兼容)
通信 :连接螺纹
类型:R



深圳电商商业股份有限公司(简称电商集团)成立于2009年,是香港电商集团在中国的全资分公司,位于深圳市南山前海金融区,注册资本壹亿元,主营业务涵盖国际贸易、医辽、汽车、半导体、投资理财、互联网等领域。集团在香港已建立完善的渠道网络,丰富的领域资源,密切的协作,大方面保障了公司业务的顺利发展。秉承“行业多元化,水准国际化,服务专业化”的“三化”服务理念,利用其国际化的专业知识体系、精细化的服务流程、高性能的服务水准,为客户提供高性价比的产品和全方位立体化解决方案。集团的采购商品来自美国、德国、瑞士、法国、意大利、日本、韩国,并建立了分公司,从而取得优势的产品货源,以及即时的产品讯息。集团服务客户已超过万家,并获得了百家国际品牌授权代理。
深圳电商商业股份有限公司在工作机械、产业系统、FA自动化、化学品、电子测量、环境测试、科学分析仪器、机电设备、电子产品、仪器仪表、工业器材等广泛的领域内,充分利用集团的营销网络和丰富的供应链优势,在众多客户和供应商之间构筑着专业、快捷的一站式综合服务平台。
SAKAGUCHI坂口电热,IMAO今尾,日本无机,NITTO日东工器,NBK锅屋,SUGIYAMA杉山电机,FREEBEAR福力百亚、CCS晰写速、SEN日森、EYE岩崎、USHIO牛尾、FUNATECH船越龙、HIKARIYA光屋、SERIC索莱克、REVOX莱宝克斯、ORIHARA折原、SONIC索尼克、YUASA尤安萨、EYELA东京理化、SANKO三高、NEWKON新光、HEIDON新东科学、TAKASAGO高沙、MITUTOYO三丰、JIKCO吉高、NPM日脉、AND艾安德、ONOSOKKI小野、PISCO碧铄科、TOPCON拓普康、NDK电波工业、STANLEY史丹利、HIOS好握速、SATA世达、HAKKO白光、TOHNICHI东日、NITTO KOHKI日东工器 日本AMANO安满能 、日本有光ARIMITSU、日本镰仓制作所、 日本KOTOHIRA、CHIKO智科、SHOWA昭和电机、OHM欧姆电机、YODOGAWA锭川、SUIDEN瑞电、MURAKOSHI村越、RYOUSEI菱正、MUTO武藤、YHB、SINTO新东、瑞典ALFI、O-DEN、HORKOS、KOTOHIRA、NIVAC、KOKI日立工機,HOND A本 田技研工業,HITACHI日立産機システム,ELEPHANT象印チェンブロック,MAXPULLマックスプル工業,TOSEI,東正車輌㈱,KAWAHARA,㈱河原,SANKIN,サンキン㈱,SANKO,㈱,YAMATEC,山金工業㈱,FUSO,扶桑金属工業㈱,OKAMURA,㈱岡村製作所,HOKUSHO,ホクショー㈱,KAINAN,㈱カイナン,IHI,㈱IHI,KOBELCO,コベルココンプレッサ㈱,ANEST,アネスト岩田㈱,DAITO SEIKI,大東製機(株)/大東精機(株),FUJI KAGAKU,富士科学器械㈱,STORAPACK/STRAPACK,ストラパック㈱,BISHAMON,㈱スギヤス,MAKINO,㈱マキノ,SPACIO,スペーシア㈱,TAIYU,㈱大阪タイユ-,UNIFLOW,㈱ユニフロー,JAM,日本オートマチックマシン㈱,KOMATSU,コマツ産機㈱,URAWA,浦和工業㈱,KARCHER,ケルヒャージャパン㈱,TEMCO,JF,日本フェンス㈱,YAMAHA,ヤマハ発動機㈱,ENOMOTO,榎本ピーエー㈱,SANSHIN,三進金属工業㈱。多家品牌授权认证。
电商集团在消费者当中享有较高的地位,公司与多家零售商和代理商建立了长期稳定的合作关系。欢迎来电咨询
深圳电商商业股份有限公司会恪守“诚信、品质、快速、贴心”的服务宗旨,不断提升专业的技术服务水平,与客户及供应商实现共同发展。通过减少中间环节,并提供便利的配送服务,将实惠和安心送到每一个客户的手中。
深圳电商商业股份有限公司
2025/09/10